Güvenli Bağlantı Altıgen cıvata ambalajı, bunları düzenli tutmak ve hasarı önlemek için tasarlanmıştır. Bu ambalaj kutuları, yuvalara sahip yumuşak bir astarla birlikte gelir. Cıvatalar kafa kafaya oturur, böylece her bir altıgen cıvata yerinde kalır. Bu onların hızlı bir şekilde alınmasını ve yerleştirilmesini sağlar ve nakliye sırasında herhangi bir çizik oluşmasını önler. Toplu taşıma için altıgen cıvatalar genellikle torba başına 500 parça halinde paketlenir. Bu torbalar daha sonra yükün sabit kalması için iç kutulara ve güçlendirilmiş ahşap kasalara konur. Kritik endüstriler için yüksek özellikli paketleme seçenekleri katı askeri standartları karşılayabilir. Bu, depolama ve nakliye sırasında cıvataları korozyondan koruyan mühürlü, yağa dayanıklı ve su geçirmez torbaları içerebilir.
Altıgen cıvatanın kalitesi onun gücünü gösterir. Bu kalite işaretleri, kolay tanımlama için cıvataların başlarında bulunmaktadır. Yaygın ISO sınıfları arasında 4.6, 8.8, 10.9 ve 12.9 yer alır. Grade 8.8, yaygın olarak kullanılan orta dayanımlı bir cıvatadır; 10.9 ve 12.9 ise yüksek dayanımlıdır ve otomobil ve inşaat gibi zorlu alanlarda kullanılır. A307 ve A325 gibi ASTM standartları da cıvata performansını tanımlar. Güvenli Sabitleme Altıgen cıvatasının seçilmesi, cıvatanın yükü arızalanmadan kaldırabilmesini sağladığından, doğru kalite güvenlik açısından önemlidir.
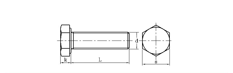
| mm | |||||||
| d | S | k | d | İplik | |||
| maksimum | dk. | maksimum | dk. | maksimum | dk. | ||
| M3 | 5.32 | 5.5 | 1.87 | 2.12 | 2.87 | 2.98 | 0.5 |
| M4 | 6.78 | 7 | 2.67 | 2.92 | 3.83 | 3.98 | 0.7 |
| M5 | 7.78 | 8 | 3.35 | 3.65 | 4.82 | 4.97 | 0.8 |
| M6 | 9.78 | 10 | 3.85 | 4.14 | 5.79 | 5.97 | 1 |
| M8 | 12.73 | 13 | 5.15 | 5.45 | 7.76 | 7.97 | 1.25 |
| M10 | 15.73 | 16 | 6.22 | 6.58 | 9.73 | 9.96 | 1.5 |
| M12 | 17.73 | 18 | 7.32 | 7.68 | 11.7 | 11.96 | 1.75 |
| M14 | 20.67 | 21 | 8.62 | 8.98 | 13.68 | 13.96 | 2 |
| M16 | 23.67 | 24 | 9.82 | 10.18 | 15.68 | 15.96 | 2 |
| M18 | 26.67 | 27 | 11.28 | 11.7 | 17.62 | 17.95 | 2.5 |
| M20 | 29.67 | 30 | 12.28 | 12.71 | 19.62 | 19.95 | 2.5 |
Güvenli Bağlantı Altıgen cıvatalarınızın malzeme yapısını ve korozyona karşı koruma seçeneklerini açıklayabilir misiniz?
Altıgen cıvatalarımızı düşük karbonlu çelik, daha güçlü alaşımlı çelik ve paslanmaz çelik (A2-304 ve A4-316) gibi farklı malzemelerden üretiyoruz. Paslanmaya karşı koruma için elektro galvanizli çinko, sıcak daldırma galvanizleme ve Dacromet gibi kaplamalar sunuyoruz. Doğru kaplamanın seçilmesi, özellikle şantiyeler veya denize yakın yerler gibi zorlu yerlerde cıvatanın ne kadar süre dayanacağı açısından önemlidir.
